Отжимные машины

Отжимными называются отделочные машины, служащие для механического удаления влаги из текстильных материалов пу­тем отжима их между вращающимися валами. Встречаются жгутоотжимные машины и отжимные машины для полотна.

Отжимы тканей жгутом между валами с обычными резино­выми покрытиями не обеспечивают равномерного распределения остаточной влаги по ширине полотна, так как жгут хорошо отжимается только в утолщенной его части и плохо — по краям, которые попадают в просвет жала валов. Отжим жгута будет несколько равномернее, если вал покрыть мягкой резиной, но в этом случае нельзя применять высокие удельные давления, которые мягкое покрытие не выдерживает. Нужно иметь в виду, что при высоких удельных давлениях при отжиме тканей жгу­том возникает опасность образования заломов.

Отжимные машины для полотна

, известные под названием «водяные или отжимные каландры», получили широ­кое распространение для отжима хлопчатобумажных и льняных тканей. В их состав входят один металлический и один или два эластичных и в то же время упругих вала, способных вы­держивать повышенные нагрузки удельного давления. Таким эластичным валом является наборный вал, изготовленный из прессованной хлопчатобумажной ткани (или путанки) или из джутового волокна, который легко выдерживает удельное дав­ление до 100 кН/м. Степень отжима зависит главным образом от удельного давления, жесткости покрытия, скорости прохож­дения ткани, температуры отжимаемой жидкости, свойств тек­стильного материала и его связи с влагой. Чем выше скорость продвижения ткани, тем меньше степень отжима. Перед отжимом ткань рекомендуется промывать в горячей воде при темпе­ратуре не менее 40—50 °С; в это случае хорошо разглажива­ются складки и заломы, которые могли образоваться при лежке жгутов ткани в ящиках. Горячая вода имеет меньшую вязкость и легче отжимается.

Отжимные машины бывают с пневматическими, гидравличе­скими и рычажно-грузовые прижимами. Последние устарели и теперь не выпускаются. Bыпускаются двухвальные отжимные машины KB с рабочими ширинами 1200, 1800 и 2200 мм для индивидуальной работы и для работы в составе линий.

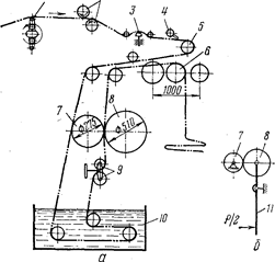
Рис. 1. Схема отжим­ной машины для полот­на КВ-120

На рис. 1, а показана схема отжимной машины КВ-120 для полотна, в состав которой входят ванна, отжимные валы, выборочное устройство и жгуторасправитель. При работе в со­ставе линии выборочное устройство снимается, модернизируется привод и вводятся механизмы для агрегирования каландра с другими машинами.

Отбеленная ткань жгутом по кольцам поступает на жгуто­расправитель и последовательно проводится через било 1, тканерасправители 2, текстильный лоцман 3, жгутоуловитель 4. Расправленное полотно выбирается вальяном 5 и подается в ванну 10, в которой прополаскивается теплой водой, расправ­ляется окончательно на винтовых тканерасправителях 9 и по­ступает в жало отжимных валов. Вал 7 имеет неподвижную ось вращения, является приводным и имеет медную рубашку, а вал 8—наборный джутовый—установлен на рычагах // (рис. 1,6), закрепленных в рамах машины. Валы установлены в горизонтальной плоскости, а рычаги под действием пневматических механизмов поворачиваются, обеспечивая прижим или разведение валов.

Выборочное устройство представляет собой вращающийся подвижной барабанчик 6, установленный на остове так, что по на­правляющим рамы он передвигается вперед и назад (величина хода 1000 мм), обеспечивая автоматический ход по всей длине тележки.

Машины с рабочей шириной 2200 мм дают возможность устанавли­вать жгуторасправитель в двух модификациях: для одного полотна с двумя билами или для двух полотен с двойным билом и двумя лоцма­нами. Скорость движе­ния ткани достигает 100—180 м/мин, а при агрегировании машин она соответствует техни­ческой характеристике линии. Степень отжима составляет 70—90%. На отжимных машинах пре­дусмотрены автоматиче­ское регулирование, кон-роль температуры в ван­не, контроль давления сжатого воздуха в пневмосистеме, останов машины в случае обрыва ткани или прохождения не расправленного жгута и др. Главный привод машины, приводы жгуторасправителей и баранчиков выборочного устройства выполнены от электродвига­телей переменного тока.

При работе на отжимных машинах необходимо контролиро­вать равномерность прижима с помощью манометров давления и путем лабораторного контроля влажности отжимаемой ткани с правой и левой сторон.

Дополнительно

Высокопроизводительная, экономичная и безопасная работа технологических агрегатов металлургической промышленности
Высокопроизводительная, экономичная и безопасная работа технологических агрегатов металлургической промышленности требует применения современных методов и средств измерения величин, характеризующих ход производственного процесса и состояние оборудования. Автоматический контроль является логически ...

Структурная и молекулярная организация генного вещества
Почти полвека тому назад, в 1953 г., Д. Уотсон и Ф. Крик открыли принцип структурной (молекулярной) организации генного вещества - дезоксирибонуклеиновой кислоты (ДНК) [1]. Структура ДНК дала ключ к механизму точного воспроизведения - редупликации - генного вещества [2]. Так возникла новая наука ...

Меню сайта