Средства реверса

Упор винта на переднем ходу называют положительным, на заднем—отрицательным. Отрицательный упор применяют в экс­плуатации для движения судна задним ходом, торможения и остановки судна, идущего передним ходом, для стаскивания судна с мели и т. п.

Реверсом называют маневр, связанный с изменением направ­ления упора, создаваемого гребным винтом. Осуществляют реверс с помощью одного из трех элементов пропульспвного комплекса:

-силовая турбина—передача—движитель, который в этом случае называют реверсивным.

Газовый реверс.

При использовании реверсивной силовой турбины реверс на­зывают газовым, а ГТД—реверсивным. В соответствии с требо­ваниями к проектированию судовых установок мощность на зад­нем ходу должна составлять примерно 40—50 % мощности перед­него хода.

Конструктивно турбина заднего хода может быть выполнена в виде :

а) отдельной турбинной ступени, расположенной на диске, жестко связанном с ротором турбины переднего хода;

б) отдельной турбины, передающей крутящий момент на ре­дуктор через собственный вал (рессору);

в) верхнего (нижнего) яруса лопаток, расположенного над (под) ярусом лопаток одной из ступеней переднего хода.

В конструкциях (а) и (б) существенно возрастают массогабаритные показатели ГТД, возникает необходимость в создании надежных закрытий в газовых каналах, а в случае «б», кроме того, нарушается принцип прямоточности ГТД. В случае применения радиальной реверсивной турбины воз­никают трудности компоновки проточных частей турбин, состоя­щих из нескольких последовательно расположенных центростре­мительных турбин, а также затруднения, связанные с конструк­тивным сочетанием в одной проточной части осевых и радиальных ступеней .

Газовый реверс с использованием двухъярусного облопачивания реверсивной турбины может быть выполнен по схеме, разра-

ботанной и испытанной фирмой «Дженерал электрик» для судо­вых ГТУ промышленного типа третьего поколения (рис. 1.4). На рисунке показаны направления движения газов и положения органов реверсивных устройств ГТУ. Специальные дефлекторы, расположенные за реверсивной ступенью, образуют на переднем ходу канал для прохода отработавших газов из рабочей решетки верхнего яруса в выпускной диффузор, обеспечивая тем самым уменьшение протечек газа в ступень заднего хода и снижение вен­тиляционных потерь. При работе на заднем ходу дефлекторы пе­ремещаются в положение, при котором образуется канал для про­хода отработавших газов из рабочей решетки заднего хода в вы­пускной диффузор.

Существенный недостаток ГТУ с газовым реверсом - потери мощности, достигающие 4—5%, что вызвано увеличенным сопро­тивлением вращению неработающих ступеней рабочего тела, имеющего весьма высокую плотность (например, по сравнению с ПТУ, в которой неработающие ступени располагают в зоне ва­куума).

Рис. 1.4. Схема течения газов в реверсивной турбине с двухъярусным облопачиванием: а—при работе на переднем ходу; б—при работе на заднем ходу.

/—механизм поворота сопловых лопаток; 2—сопловые лопатки ПХ; 3—сопловые лопатки ЗХ; 4 — газовыпускной диффузор; 5—дефлекторы; 6 — рабочие лопатки ЗХ;

7—рабочие лопатки ПХ; 8—газовый канал ЗХ; 9—газовый канал ПХ; 10—раз­делитель газового потока; 11— рабочие лопатки предыдущей турбины.

. Реверсивные передачи

Конструкция реверсивной передачи позволяет изменить напра­вление вращения выходного (соединенного с винтом) вала пере­дачи при неизменном направлении вращения входного (соединен­ного с ГТД) вала.

Реверсивные передачи могут быть электрическими, гидравличе­скими и механическими. Электрический реверс применяют на су­дах с электродвижением. Его недостатки и достоинства опреде­ляются недостатками и достоинствами электрических машин, при­меняемых на судах для обеспечения хода судна.

Гидрореверсивная передача, изображенная на рис. 1.5, вклю­чает в свой состав гидромуфту и гидротрансформатор. В данной схеме продолжительный передний ход осуществляется передачей крутящего момента от вала 7 на шестерню 4 непосредственно че­рез фрикционную или кулачковую муфту (на рис. 1.5 не пока­зана ), а внутренняя полость гидромуфты может быть либо за­полненной рабочей жидкостью, либо опорожненной. Для перехода на задний ход нужно заполнить рабочей жидкостью гидромуфту,

Рис. 1.11. Принципиальная схема гидрореверсивной передачи.

1 — гидротрансформатор; 2 —неподвижный на­правляющий аппарат ГТ 3 — турбинное колесо ГТ; 4— ведущая шестерня редуктора: 5 — турбин­ное колесо гидромуфты; 6 — насосное колесо гидромуфты; 7 — вал турбины винта; 8 — ведо­мое колесо редуктора.

Рис.1.5.

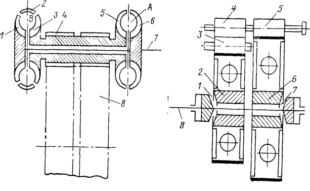
Принципиальная схема реверсивного редуктора.

1— фрикцион ЗХ; 2 — колесо ЗХ; 3 — пара­зитная шестерня; 4, 5 — ведущие шестерни редуктора; 6 — ведомое колесо ПХ; 7 — фрикцион ПХ; 8 — выходной вал редуктора.

раз

Перейти на страницу: 1 2

Дополнительно

Структурная и молекулярная организация генного вещества
Почти полвека тому назад, в 1953 г., Д. Уотсон и Ф. Крик открыли принцип структурной (молекулярной) организации генного вещества - дезоксирибонуклеиновой кислоты (ДНК) [1]. Структура ДНК дала ключ к механизму точного воспроизведения - редупликации - генного вещества [2]. Так возникла новая наука ...

Естественно-научные концепции развития микроэлектронных и лазерных технологий
Электроника - наука о взаимодействии электронов с электромагнитными полями и о методах создания электронных приборов и устройств (вакуумных, газоразрядных, полупроводниковых), используемых для передачи, обработки и хранения информации. Возникла она в начале ХХ века. На ее основе были созданы элект ...

Меню сайта