Электрические термометры сопротивления

В металлургической практике для измерения температур до 6500С применяются термометры сопротивления (ТС), принцип действия которых основан на использовании зависимости электрического сопротивления вещества от температуры. Зная данную зависимость, по изменению величины сопротивления термометра судят о температуре среды, в которую он погружен. Выходным параметром устройства является электрическая величина, которая может быть измерена с весьма высокой точностью (до 0.020С), передана на большие расстояния и непосредственно использована в системах автоматического контроля и регулирования.

В качестве материалов для изготовления чувствительных элементов ТС используются чистые металлы: платина, медь, никель, железо и полупроводники.

Изменение электросопротивления данного материала при изменении температуры характеризуется температурным коэффициентом сопротивления , который вычисляется по формуле

, (1)

где t – температура материала, 0С;

R0 и Rt – электросопротивление соответственно при 0 0С и температуре t, Ом.

Сопротивление полупроводников с увеличением температуры резко уменьшается, т. е. они имеют отрицательный температурный коэффициент сопротивления практически на порядок больше, чем у металлов. Полупроводниковые термометры сопротивления (ТСПП) в основном применяются для измерения низких температур (1.5 ¸ 400 К).

Достоинствами ТСПП являются небольшие габариты, малая инерционность, высокий коэффициент . Однако они имеют и существенные недостатки:

нелинейный характер зависимости сопротивления от температуры;

отсутствие воспроизводимости состава и градуировочной характеристики, что исключает взаимозаменяемость отдельных ТС данного типа. Это приводит к выпуску ТСПП с индивидуальной градуировкой.

Типы и конструкции ТС

Для решения различных задач ТС делятся на эталонные, образцовые и рабочие, которые в свою очередь подразделяются на лабораторные и технические.

Эталонные ТС предназначены для воспроизведения и передачи шкалы МПТШ в интервале 13.81 ¸ 903.89 К.

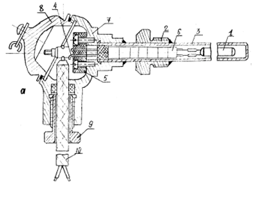
Технические ТС в зависимости от назначения и конструкции делятся на: погружаемые, поверхностные и комнатные; защищенные и не защищенные от действия агрессивной среды; стационарные и переносные; термометры 1-го, 2-го и 3-го классов точности и т. д. На (рис. 7) представлены конструкции промышленных ТС с неподвижным (а) и подвижным (б) штуцерами. Термометр состоит из чувствительного элемента 1, расположенного в защитном стальном чехле 3, на котором приварен штуцер 2 с резьбой М27х2. Провода 4, армированные фарфоровыми бусами 6, соединяют выводы чувствительного элемента с клеммной колодкой 5, находящейся в корпусе головки 7. Сверху головка закрыта крышкой 8, снизу имеется сальниковый ввод 9, через который осуществляется подвод монтажного кабеля 10. При измерении температуры сред с высоким давлением на чехол ТС устанавливается специальная защитная (монтажная) гильза 12.

Чувствительный элемент ТС выполнен из металлической тонкой проволоки с безындукционной каркасной или бескаркасной намоткой.

Значительно реже в металлургической практике встречаются полупроводниковые термометры сопротивления (ТСПП) для измерения температуры (-90)¸(+180) 0С. Их применяют в термореле, низкотемпературных регуляторах, обеспечивающих высокоточную стабилизацию чувствительных элементов газоанализаторов, хроматографов, корпусов пирометров, электродов термоэлектрических установок для экспресс-анализа состава металла и т. п.

Мостовые схемы измерения сопротивления термометров

Для измерения сопротивления используют четырехплечие уравновешенные (ручные или автоматические) и неуравновешенные мосты.

Уравновешенный мост

Уравновешенный мост, принципиальная схема которого приведена на (рис. 8а), используется для определения величины сопротивления при градуировке ТС и при измерениях температуры в лабораторных условиях.

Нулевой метод измерения характеризуется высокой точностью, так как исключается влияние окружающей температуры, магнитных полей и изменения напряжения батареи питания Б. Однако значительная погрешность может возникать при изменении сопротивления соединительных проводов Rл, что вызывается значительными сезонными и суточными колебаниями температуры в местах прохождения кабеля, соединяющего ТС и измерительный мост.

Перейти на страницу: 1 2 3 4 5 6

Дополнительно

Галактика как уровень мегамира
Актуальность, цели и задачи ответа по настоящей контрольной работе будут обусловлены следующими положениями. Нас интересует не только звездное население того дома, в котором мы живем. Нас интересует и архитектура этого дома и его размеры; интересует, как его обитатели расселены, где жилищная тесно ...

Австрийская школа и теория предельной полезности
“Австрийская школа” возникла в 70-х годах 19-в., которые характеризовались дальнейшим ростом капитализма и обострением его противоречий. На основе растущей концентрации производства в 70-х годах начали возникать первые кап. монополии. Австрийская школа оспаривала учение Маркса, и в авангарде этог ...

Меню сайта