Электрические термометры сопротивления

На (рис. 8б) представлена трехпроводная схема включения ТС, в которой одна вершина диагонали питания (В) перенесена непосредственно к термометру. Для равновесия можно записать

,

откуда

(2)

Сопротивление проводов Rл оказываются включенными в различные плечи моста, поэтому изменение их величины DRл практически взаимно компенсируются.

Неуравновешенный мост

Неуравновешенный мост исключает необходимость выполнения ручных операций по изменению величины R3. В нем вместо нуль-прибора G в диагональ моста AC устанавливается миллиамперметр. При постоянном напряжении питания и постоянных сопротивлениях R1, R2, R3 через этот прибор протекает ток, величина которого зависит (нелинейно) от изменения RТ. Использование данных мостов для измерения температуры ограниченно. В основном они применяются для преобразования сопротивления термометра в напряжение.

Автоматические уравновешенные мосты

Автоматические уравновешенные мосты широко используются для измерения и регистрации температуры в комплекте с ТС. Их характеризует высокая точность и возможность использования в системах автоматического регулирования. Они выпускаются различных модификаций: одно- и многоточечные, с дисковой или ленточной диаграммой, с сигнальными устройствами и др.

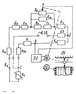
На (рис. 9) приведена принципиальная схема автоматического уравновешенного моста, который, так же как ручной равновесный мост, реализует нулевой метод измерения сопротивления.

Термометр сопротивления Rt подключен к прибору по трехпроводной схеме. В измерительную схему моста входят уравновешивающий реохорд Rр с шунтирующим его резистором Rш (ограничивает ток, текущий по реохорду); резисторы Rн и Rк, определяющие начало и конец шкалы; спирали rн и rк, обеспечивающие точную подгонку диапазона шкалы и являющиеся частью резисторов Rн и Rк; резисторы R1, R2 и R3, образующие постоянные плечи моста; TC Rt, являющийся переменным плечом; балластный резистор Rб, который ограничивает ток в мостовой схеме и обеспечивает минимальный нагрев ТС; подгоночный резисторы Rп1 и Rп2, обеспечивающие сопротивление подводящей линии Rл=5 Ом (каждый из двух соединительных проводов имеет сопротивление 2.5 Ом).

Электронный усилитель переменного тока ЭУ включен в диагональ ab и обеспечивает усиление разбаланса, возникающего в измерительной схеме при изменении сопротивления ТС Rt. Усиленный сигнал поступает на вход реверсивного двигателя РД, который вращением вала заставляет перемещаться подвижную каретку регистрирующего устройства е и движок реохорда Rр. Вращение вала происходит до тех пор, пока не наступит новое равновесие схемы; напряжение разбаланса станет равным 0, сигнал на входе РД также исчезнет и двигатель остановится.

Питание измерительной схемы моста производится через диагональ d с помощью силового трансформатора ЭУ переменным током напряжением 6.3 В и частотой 50 Гц. Синхронный двигатель СД перемещает диаграммную бумагу относительно пера или печатающего устройства с постоянной скоростью.

1.4. Измерение термо-ЭДС компенсационным путем

Измерение термо-ЭДС термопары прямым путем, по силе тока в цепи постоянного сопротивления, с помощью милливольтметра, можно осуществить сравнительно просто. Однако этот метод обладает рядом недостатков, создающих дополнительные погрешности, что в большинстве случаев не позволяет получить высокой точности измерения.

В измерительной технике кроме прямых методов измерения известны компенсационные метода или методы противопоставления (сравнения) неизвестной величины величине известной. Компенсационные методы позволяют провести измерения более точно, хотя и не всегда так просто, как прямое измерение.

Основное преимущество компенсационного измерения термо-ЭДС, по сравнению с прямым, с помощью милливольтметра, состоит в том, что в момент измерения ток в цепи термопары равен 0. Это означает, что величина сопротивления внешней цепи не имеет значения: никакой подгонки сопротивления внешней цепи делать не надо и беспокоиться о влиянии температуры окружающей среды на внешнюю цепь нет необходимости.

1.5. Автоматические потенциометры

Автоматические потенциометры служат для компенсационных измерений термо-ЭДС без ручных манипуляций, свойственных неавтоматическим потенциометрам. У последних ручные манипуляции после стандартизации тока сводятся к следующей необходимости перемещать движок реохорда до тех пор, пока стрелка гальванометра не встанет на ноль. При этом перемещение движка производится во вполне определенном направлении.

Перейти на страницу: 1 2 3 4 5 6

Дополнительно

Естественно-научные концепции развития микроэлектронных и лазерных технологий
Электроника - наука о взаимодействии электронов с электромагнитными полями и о методах создания электронных приборов и устройств (вакуумных, газоразрядных, полупроводниковых), используемых для передачи, обработки и хранения информации. Возникла она в начале ХХ века. На ее основе были созданы элект ...

Нетрадиционные методы производства энергии
Рождение энергетики произошло несколько миллионов лет тому назад, когда люди научились использовать огонь. Огонь давал им тепло и свет, был источником вдохновения и оптимизма, оружием против врагов и диких зверей, лечебным средством, помощником в земледелии, консервантом продуктов, технологическ ...

Меню сайта