Структура, химический состав и функции компонентов прокариотной клетки

Капсулы, слизистые образования и чехлы могут содержать компоненты, одинаковые с клеточной стенкой, однако их химические составы не идентичны. Как правило, химический состав капсул, образуемых бактериями, родо- или видоспецифичен. Основные химические компоненты большинства капсул прокариот — полисахариды гомо- или гетерополимерной природы. Исключение составляет капсула некоторых видов Bacillus, построенная из полипептида, являющегося полимером D-глутаминовой кислоты. Для ряда бактерий показана способность синтезировать и выделять в окружающую среду волокна целлюлозы.

Чехлы как более сложные структуры имеют обычно и более сложный химический состав. Чехол Sphaerotilus natans, например, содержит 36% сахаров, 11 —гексозамина, 27— белка, 5, 2— липида и 0,5% фосфора.

Хотя капсулы, слизистые вещества и чехлы являются необязательными структурами прокариотной клетки, им приписывают определенные полезные для клетки функции. Вязкость внеклеточной среды, обусловленная наличием слизистых веществ, очевидно, благоприятна для клетки. Они защищают клетку от механических повреждений, высыхания, создают дополнительный осмотический барьер, служат препятствием для проникновения фагов. Иногда слизистые образования могут служить источником запасных питательных веществ. С помощью слизи осуществляется связь между соседними клетками в колонии, а также прикрепление клеток к различным поверхностям. Способность определенных бактерий синтезировать эти своеобразные внеклеточные полимеры находит практическое применение: их используют в качестве заменителя плазмы крови, а также для получения синтетических пленок.

Жгутики и механизмы движения

На клеточной поверхности многих прокариот имеются структуры, определяющие способность клетки к движению в жидкой среде. Это — жгутики. Их число, размеры, расположение, как правило, являются признаками, постоянными для определенного вида, и поэтому учитываются при систематике прокариот. Однако накапливаются данные о том, что количество и расположение жгутиков у одного и того же вида могут в значительной степени определяться условиями культивирования и стадией жизненного цикла, и, следовательно, не стоит переоценивать таксономическое значение этого признака.

Если жгутики находятся у полюсов или в полярной области клетки, говорят об их полярном или субполярном расположении, если — вдоль боковой поверхности, говорят о латеральном расположении. В зависимости от числа жгутиков и их локализации на поверхности клетки различают монополярные монотрихи (один жгутик прикреплен к одному полюсу клетки; см. рис. 3, 8), монополярные политрихи (пучок жгутиков расположен на одном полюсе клетки), биполярные политрихи (на каждом полюсе — по пучку жгутиков; см. рис. 3, 17) и перитрихи (многочисленные жгутики расположены по всей поверхности клетки или вдоль ее боковой поверхности; см. рис. 3, 18). В последнем случае число жгутиков может достигать 1000 на клетку.

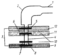
Рис. 11. Строение жгутика грамотрицательных эубактерий: 1 — нить; 2 — крюк; 3 — базальное тело; 4 — стержень; 5 — L-кольцо; 6 — P-кольцо; 7 — S-кольцо; 8 — M-кольцо;9 — ЦПМ; 10 — периплазматическое пространство; 11 — пептидогликановый слой; 12 — наружная мембрана (по De Pamphilis, Adier, 1971)

Обычная толщина жгутика — 10—20 нм, длина — от 3 до 15 мкм. У некоторых бактерий длина жгутика может на порядок превышать диаметр клетки. Как правило, полярные жгутики более толстые, чем перитрихиальные. Жгутик представляет собой относительную жесткую спираль, обычно закрученную против часовой стрелки. Вращение жгутика также осуществляется против часовой стрелки с частотой от 40 до 60 об/с, что вызывает вращение клетки, но в противоположном направлении. Поскольку клетка намного массивнее жгутика, она вращается со значительно меньшей скоростью — порядка 12—14 об/мин. Вращательное движение жгутика преобразуется также в поступательное движение клетки, скорость которого в жидкой среде для разных видов бактерий составляет от 16 до 100 мкм/с.

Перейти на страницу: 2 3 4 5 6 7 8 9 10 11 12

Дополнительно

Численная модель эволюции плавающих на сферической мантии и взаимодействующих континентов
С развитием методов численного моделирования глобальных геодинамических процессов появилась возможность исследовать механизм дрейфа континентов с периодическим объединением их в суперконтиненты типа Пангеи. В предыдущих работах авторов разработан метод численного решения системы уравнений переноса ...

Высокопроизводительная, экономичная и безопасная работа технологических агрегатов металлургической промышленности
Высокопроизводительная, экономичная и безопасная работа технологических агрегатов металлургической промышленности требует применения современных методов и средств измерения величин, характеризующих ход производственного процесса и состояние оборудования. Автоматический контроль является логически ...

Меню сайта