Основные правила выполнения электромонтажных чертежей и чертежей изделий с электрическими обмотками. Условные изображения сердечников магнитопроводов
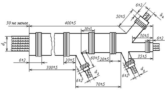
При выполнении ДП по проектированию систем электроснабжения летательных аппаратов возникает необходимость разработки сборочных чертежей жгутов. Пример выполнения сборочного чертежа жгута представлен на рис. 12.
ГОСТ 2.415–68 устанавливает правила выполнения чертежей изделий с электрическими обмотками: электрических машин, приборов, аппаратов, согласовывая их с остальными ГОСТ ЕСКД.
Рис. 11
В продольных разрезах якорей (роторов), статоров и индукторов электрических машин, как правило, изображают верхнюю половину.
В случае необходимости нижнюю половину изображают только контуром.
Примеры выполнения одно- и многовитковых обмоток статоров и роторов в продольном разрезе приводятся в табл.1 ГОСТ 2.415–68.
В поперечных разрезах и сечениях многовитковую обмотку штрихуют в клетку, одновитковую, двухвитковую и стержневую обмотки не штрихуют (примеры выполнения приведены в табл.2 ГОСТ 2.415–68). Провод, диаметр или толщина которого на чертеже 3 мм или более, в поперечном сечении штрихуют как металл в случае, если обмотки имеют малое число витков.
Изоляцию однослойную и многослойную, толщина которой на чертеже 2 мм и более, штрихуют как неметаллические монолитные материалы (причем многослойную изоляцию из одного материала изображают как монолит-
Рис. 12
ное тело, не проводя линий, отделяющих отдельные слои изоляции), а толщиной менее 2 мм – зачерняют (рис. 13, а).
Рис. 13
Многослойную изоляцию из различных материалов, толщина которой на чертеже 2 мм и более, штрихуют как неметаллические материалы, разделяя сплошными линиями слои. Изоляцию толщиной менее 2 мм зачерняют, разделяя слои просветами (рис. 13, б). Изоляция на видах изображается в разбежку (рис. 13, в), встык или с перекрытием (рис. 13, г).
Неизолированные катушки на чертеже изображают как монолитное тело, не вычерчивая проводов. В случае необходимости показать на чертеже место припайки выводов, делают местный разрез катушки вдоль проводов обмотки (рис. 14).
На сборочном чертеже изделий с обмотками помещают, как правило, схему обмотки. Данные о намотке, пропитке, пайке и лакокрасочном покрытии приводят в технических требованиях чертежа.
Условные изображения сердечников магнитопроводов в поперечных разрезах и сечениях определяет ГОСТ 2.416–68. Шихтованные и витые сердечники в поперечных разрезах и сечениях (относительно листов или лент) штрихуют сплошными тонкими линиями (длина штрихов и частота штриховки в соответствии с ГОСТ 2.306–68), ограничивая эти линии вспомогательными диагоналями, не показываемыми на чертеже.

Рис. 14 Рис. 15
Рис. 16
Направление линии штриховки должно соответствовать расположению листов или витков ленты сердечника (рис. 15).
При штриховке витых сердечников в продольных разрезах и сечениях (относительно лент) длина линий штриховки не регламентируется, но должна быть примерно одинакова. Направление линий штриховки должно соответствовать расположению листов или витков ленты сердечника (рис. 16, а, б).
Сердечники магнитопроводов в разрезах и сечениях вдоль листов не штрихуют (рис.16, в, г, разрез Б-Б на рис. 17).
Сердечники магнитопроводов значительной длины, изображаемые с разрывом или без разрыва в поперечных сечениях, штрихуют по краям (рис. 18, а). При местном разрезе сердечник штрихуют как металл (рис. 18, б).
Если секущая плоскость проходит через ось сердечника якоря (ротора) или статора, то независимо от угла наклона зубца сердечника зубец условно совмещают с плоскостью чертежа и разрез (сечение) показывают по зубцу (рис. 19, а).
Сердечники магнитопроводов на видах показывают как монолитные тела (рис. 16, в и 19, б).
Дополнительно
Развитие представлений о природе тепловых явлений и свойств макросистем
Вокруг нас происходят явления, внешне весьма
косвенно связанные с механическим движением. Это явления, наблюдаемые при
изменении температуры тел, представляющих собой макросистемы, или при переходе
их из одного состояния (например, жидкого) в другое (твердое либо
газообразное). Такие явления наз ...
Лазерная медицинская установка для целей лучевой терапии Импульс-1
В настоящее
время лазерное излучение с большим или меньшим успехом применяется в различных
областях науки. Уникальные свойства излучения лазеров, такие, как монохроматичность,
когерентность, малая расходимость и возможность при фокусировке получать очень
высокую плотность мощности на облучаемой по ...