Сопряжение частотомера с ЭВМ
00 – синхронный режим приема/передачи 8-битных данных. Частота передачи – 1/12 частоты процессора. Скорость фиксированная.
01 – 8-битный режим передачи с переменной скоростью. Скорость передачи задается таймером Т1 (600 – 9600 бит/сек). Формат посылки: 1 старт + 8 бит информации + 1 стоп.
10 – 9-битный режим передачи информации с фиксированной скоростью. Скорость передачи – частота резонатора деленная на 64 или на 32. 9-й бит может использоваться для контроля по четности.
11 – 9-битный режим передачи информации с переменной скоростью, величина которой задается таймером Т1.
Для сопряжения с интерфейсом RS232C, УАПП может работать в режимах 10 и 11, когда скорость определяется таймером Т1. Если устройство разрабатывается на МК51, оно должно иметь выход на последовательный интерфейс с RS232C. При этом перед разработчиком встают следующие проблемы:
Согласование уровней сигналов RS232C и МК51.
Поддержание стандартной скорости передачи.
Поддержание стандартных форматов посылок.
Поддержание стандартных протоколов обмена – набор символов для того, чтобы обеспечить нормальный прием/передачу.
Задача преобразования последовательного кода выходного сигнала частотомера в параллельный несколько усложняется тем, что необходим опрос 38 каналов. Данное обстоятельство приводит к необходимости применения дополнительных микросхем, позволяющих решить эту задачу. Для этого использовались микросхемы КР580ВВ55А.
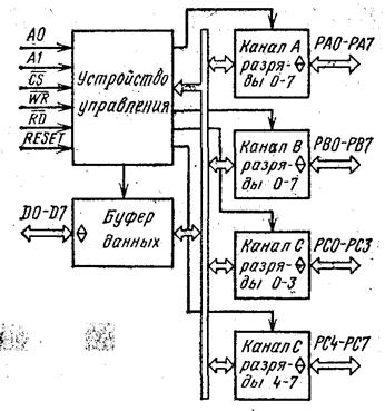
Микросхема КР580ВВ55А предназначена для параллельной передачи информации между микропроцессором и периферийными устройствами и содержит три 8-разрядных канала ввода/вывода
А, В, С.
Канал С может быть представлен в виде двух 4-разрядных каналов ввода/вывода, доступ к которым производится как к отдельным независимым каналам. Периферийные устройства подключаются к каналам А, В, С, а связь с микропроцессором осуществляется с помощью шины D через буфер данных. Структурная схема КР580ВВ55А представлена на рис 10.

Рисунок 10 Структурная схема микросхемы КР580ВВ55А
Каждый из каналов А, В, С состоит из 8-разрядного регистра и двунаправленных формирователей, имеющих на выходе состояние «Выключено», Устройство управления содержит регистр управляющего слова (РУС), в который предварительно производится запись информации, определяющей режим работы каналов, и формирует сигналы выбора канала и управления каналом С.
Микросхема может работать в одном из трех режимов: режим 0 - простой ввод/вывод; режим 1 - стробируемый ввод/вывод; режим 2 -двунаправленный канал. Режим работы каналов можно. изменять как в начале, так и в процессе выполнения программы, что позволяет обслуживать различные периферийные устройства в определенном порядке с помощью одной микросхемы КР580ВВ55А. Каналы А и В могут работать в различных режимах, а работа канала С зависит от режимов работы каналов А и В, Комбинируя режимы работы каналов, можно обеспечить работу микросхемы почти с любым периферийным устройством.
В режиме 0 осуществляется простой ввод/вывод данных по трем 8-разрядным каналам, причем канал С может использоваться как два 4-разрядных канала. Каждый из каналов может использоваться отдельно для ввода или вывода информации, В режиме 0 входная информация не запоминается, а выходная хранится в выходных регистрах до записи новой информации в канал или до записи нового режима.
Дополнительно
Конструкции и технология изготовления электротехнических изделий
Настоящее методическое
пособие предназначено для студентов Института Электротехники, выполняющих
курсовые и дипломный проекты (КП и ДП), и призвано оказать им помощь по
выполнению конструкторско-технологической части проектов.
В связи с введением Единой
системы конструкторской документации (ЕСК ...
Методы оценки близости допредельных и предельных распределений статистик
Рассматривается проблема оценки близости предельных
распределений статистик и распределений, соответствующих конечным объемам
выборок. При каких объемах выборок уже можно пользоваться предельными
распределениями? Каков точный смысл термина "можно" в предыдущей фразе?
Основное внимание уд ...