Дискретное устройство (ДУ)
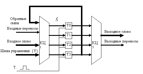
При синтезе проектируемое устройство представляется в виде структуры, представленной на рисунке 2.1
рисунок 2.1.
Проектирование дискретного устройства сводится к синтезу элементарного дискретного устройства, обрабатывающего один бит информации и включающего один элемент памяти (триггер).
Входная комбинационная схема обеспечивает выполнение операций из множества Y, результатом которых являются соответствующие значения функций возбуждения f i для каждого из входов триггера:
– установка элементов памяти в нулевое состояние.
– запись входного слова в элементы памяти
– сдвиг влево
– логическую операцию
– декремент
– операция вычитания
– преобразование в дополнительный код.
Выходная комбинационная схема обеспечивает выполнение операции сравнения и формирование свертки содержимого ДУ.
Синтез элементарного ДУ сводится к получению функций возбуждения для каждой операции отдельно и, далее, построению объединенных функций возбуждения триггера элементарного ДУ. Получение функций возбуждения для каждой микрооперации сводится к выполнению следующих этапов :
– построение таблицы для выполняемой операции
– определение значений функций возбуждения для каждой таблицы выполняемой
операции с учетом словаря переходов заданного триггера
– определение логической функции для каждого входа заданного триггера
– минимизация логической функции в требуемом логическом базисе.
Проектирование дискретного устройства на элементах малой интеграции.
Выбор триггера.
В качестве триггера для ДУ выберем МС К500ТВ135, объединяющую в одном корпусе два двухтактных JK-триггера с возможностью установки “0” и “1”:
К500ТВ135
Проектирование микроопераций.
Микрооперация установки триггера в " 0 ".
При подаче тактового импульса на синхронизирующие входы триггеров и при разрешении операции обнуления (Y=0) по заднему фронту импульса, информация, находящаяся на входах триггеров переписывается на их выходы, т.о. обнуление триггеров происходит в том случае, если к моменту подачи тактового импульса на J-входах триггеров установлены уровни логической единицы, а на K-входах – уровни логического нуля.
| Qt | Qt+1 | J | K |
| 0 | 0 | 0 | * |
| 1 | 1 | * | 1 |
Микрооперация записи данных.
Когда операция записи данных разрешена, т.е. Y =1, и при подаче на синхровходы триггеров тактового импульса С по его заднему фронту, информация, находящаяся на входах триггеров, переписывается в ячейки памяти дискретного устройства и появляется на выходах Qi. При изменении входных данных, т.е. при переключении сигналов X i они с задержкой распространения импульса по цепям микросхем, участвующих в микрооперации записи данных, появляются на входах триггеров. При подаче следующего тактового импульса С микрооперация записи данных повторяется.
| X | Qt | Qt+1 | J | K | J | K | |||||
| 0 | 0 | 0 | 0 | * | X | X | |||||
|
| 1 | 0 | * | 1 | |||||||
|
| 0 | 1 | 1 | * | 0 | 1 | * | * | |||
|
| 1 | 1 | * | 0 | * | * | Qt | 1 | 0 | Qt |
Дополнительно
Естественно-научные концепции развития микроэлектронных и лазерных технологий
Электроника - наука о взаимодействии электронов
с электромагнитными полями и о методах создания электронных приборов и
устройств (вакуумных, газоразрядных, полупроводниковых), используемых для
передачи, обработки и хранения информации. Возникла она в начале ХХ века. На ее
основе были созданы элект ...
Эволюция и самоорганизация химических систем. Макромолекулы и зарождение органической жизни
Понятие самоорганизация означает упорядоченность
существования материальных динамических, то есть качественно изменяющихся
систем. Оно отражает особенности существования таких систем, которые
сопровождаются их восхождением на все более высокие уровни сложности и
системной упорядоченности или матер ...